文章前言
在当前复杂的国际贸易环境下,关税的增加使得电子元器件的采购成本不断攀升,电子制造企业面临着巨大的成本压力。为了有效应对这一挑战,实现国产化替代已成为众多企业降低生产成本、保障供应链稳定的关键战略。对此芯伯乐推出的INA180/INA181电流检测放大器凭借其卓越的性能和高性价比,成为替代国内外INA180/INA181版本的理想选择,能够助力企业大幅节省成本,提升市场竞争力。


产品概述与核心优势
XBLW INA180/INA181是零漂移双向电流检测放大器,广泛应用于电池监控、电源管理以及过流检测等领域。其工作原理是通过感应电流检测电阻在宽共模电压范围(- 0.2V 至 30V)内的压降,实现精准的电流监测。
(一)
卓越的电气性能
XBLW INA180/INA181在关键电气参数上表现出色:
输入失调电压:±100μV(TYP)。
温度漂移:0.2μV/°C(TYP)
增益误差:±0.1%(TYP)
增益误差漂移:1.5ppm(TYP)
以上卓越的参数保证了不同温度环境下检测结果的采集精度和稳定性。充分保障了信号放大的准确性。

(二)
出色的带宽表现
XBLW INA180/INA181拥有不同增益选项下的多种带宽选择,如 INA181A1、INA180A1 的带宽可达350kHz,INA181A2、INA180A2为210kHz等。丰富的带宽选项能够满足不同应用场景对于响应速度的需求,为工程师提供了更多的灵活性。

INA180和 INA181各个版本的选型指南
(一)
不同增益版本介绍
INA180A1/INA181A1:增益为20V/V,适合对电流检测精度要求适中,且需要快速响应的场合,如小型电机驱动中的电流监测。其高带宽(350kHz)能够及时捕捉电流的快速变化,为电机控制提供实时反馈。
INA180A2/INA181A2:增益为50V/V,在保证一定响应速度(带宽 210kHz)的同时,提供更高的检测精度,适用于如电池管理系统中的中等电流检测,可精准监测电池充放电过程中的电流变化。
INA180A3/INA181A3:增益为100V/V,适用于低电流检测场景,如传感器信号放大。在这些场景中,微小的电流变化也需要被精确检测和放大,以确保传感器数据的准确性。
INA180A4/INA181A4:增益为200V/V,专为超低电流检测设计,如在一些高精度的测量设备或实验仪器中,能够将极其微弱的电流信号放大到可测量的水平。
(二)
选型要点
根据应用场景确定增益:明确具体的电流检测应用场景,如电机驱动、电池管理、工业自动化等。若被测电流较大且需要快速响应,可选择低增益版本(如 INA180A1/INA181A1);若被测电流较小,对检测精度要求较高,则应选择高增益版本(如 INA180A4/INA181A4)。
考虑带宽要求:结合系统对电流变化响应速度的要求选择合适带宽的版本。在需要监测快速电流脉冲的电路中,应优先选择带宽高的 INA180A1或INA181A1;对于对响应速度要求不高的稳定电流监测场景,可选择带宽相对较低的版本,如 INA180A3 或 INA181A3。
关注精度指标 :对于对检测精度要求极高的应用,如高精度测量设备或实验仪器,应重点关注输入失调电压、偏移漂移和增益误差等精度指标。可根据具体需求选择增益误差更小、偏移漂移更低的版本。

引脚兼容性与设计便利性
(一)
引脚定义与兼容
XBLW INA180/INA181在引脚设计上与市场主流兼容。其中INA180采用SOT23-5封装,INA181 采用SOT23-6封装,引脚功能定义明确且与行业通用设计相符。在实际电路设计中,可以直接替换,无需对PCB布局进行大规模修改,大大节省了设计时间和成本。
(二)
封装优势
其封装形式紧凑,便于在各种尺寸的电路板上布局和安装,特别适合对空间有严格要求的小型化电子设备设计。良好的封装散热性能也能确保器件在长时间工作下的稳定性,进一步提高系统的可靠性。

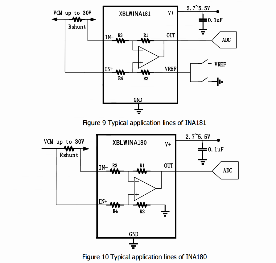
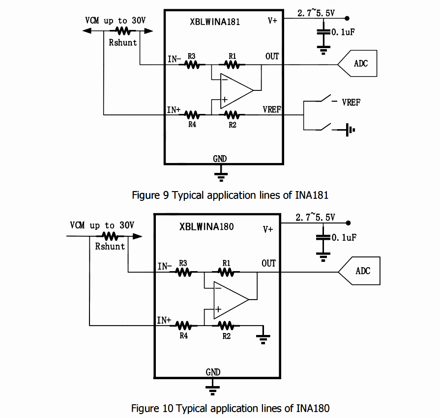
图为INA180/INA181典型应用电路。使用仅时需将采样电阻两端接入IN +及IN -即可。需注意的是,INA181须另接参考电压或地。INA180/INA181 内置的运算放大器会把采集到的电流信号进行放大,并精准地转化成电压信号后输出。该输出的电压经一个ADC(模数转换器)采集,即可完成信号的数字化转换。依据欧姆定律公式 I=U/(R×增益倍数),能够准确计算出电流值。例如,假设Vout为2V,增益为20 V/V,分流电阻是0.1Ω,那么电流 I=2V/(20×0.1Ω)=2/2=1A。
总 结
XBLW版本的INA180/INA181凭借卓越的电气性能、良好的引脚兼容性、高性价比以及在实际应用中的出色表现,完全具备替代国内外版本实力。对于电子设计工程师而言,选择XBLW INA180/INA181不仅能够在性能上满足项目需求,还能在成本控制和设计便利性方面带来显著优势。在未来的电子设计发展中,XBLW INA180/INA181有望成为更多项目中的首选电流检测放大器解决方案,助力电子设备性能的持续提升和创新。